Vít gỗ 60mm là một phụ kiện không thể thiếu trong lĩnh vực xây dựng, thi công công trình và cả những dự án tự làm (DIY). Với cấu tạo kỹ thuật chuyên biệt, chất liệu cao cấp và khả năng ứng dụng đa dạng, loại vít này mang đến giải pháp kết nối vững chắc, bền bỉ, tối ưu hóa hiệu quả công việc. Bài viết này sẽ cung cấp cái nhìn sâu sắc về vít gỗ 60mm, từ cấu tạo, ưu điểm vượt trội cho đến những ứng dụng thực tế, giúp bạn hiểu rõ vì sao đây là lựa chọn hàng đầu cho các công trình.
Cấu Tạo Kỹ Thuật Của Vít Gỗ 60mm
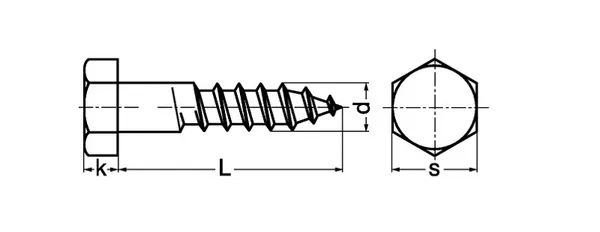
Vít gỗ 60mm, hay còn gọi là vít phong, là một công cụ kỹ thuật được thiết kế tỉ mỉ để đảm bảo hiệu suất tối đa. Sản phẩm bao gồm ba phần chính, mỗi phần đóng vai trò quan trọng trong chức năng tổng thể của vít.
Tìm hiểu thông tin kỹ thuật về vít gỗ (vít phong) 60mm
- Đầu vít: Phần đầu vít được thiết kế thông minh như một mũi khoan thu nhỏ. Chức năng này cho phép vít dễ dàng xuyên qua các vật liệu khác nhau, từ nhựa dẻo cho đến gỗ cứng, mà không cần tạo lỗ khoan trước trong nhiều trường hợp. Điều này giúp tiết kiệm thời gian và công sức thi công.
- Thân vít: Với cấu trúc ren suốt, phần thân vít có khả năng bám sâu và neo giữ cực kỳ chắc chắn vào bề mặt vật liệu. Dù là tôn lợp, sắt thép, bê tông hay gỗ tự nhiên, ren vít đều đảm bảo độ bám dính vững chắc, chống rung lắc và chịu lực tốt.
- Mũ vít: Mũ vít thường có hình dáng lục giác đặc trưng, dễ dàng sử dụng với dụng cụ siết phù hợp. Bên dưới mũ vít thường tích hợp một vòng đệm bằng cao su hoặc nhựa dẻo. Vòng đệm này có vai trò quan trọng trong việc bảo vệ lỗ khoan khỏi sự xâm nhập của nước, ngăn ngừa tình trạng gỉ sét, đồng thời hạn chế sự rò rỉ của chất lỏng hay khí vào kết cấu công trình.
Dưới đây là bảng thông số kỹ thuật chi tiết của vít gỗ 60mm:
- Kích thước trục vít: 6mm
- Chiều dài: 60mm
- Loại đầu vít: Đầu lục giác
- Loại ren vít: Ren thưa
- Loại đuôi: Nhọn
- Vật liệu: Inox 304 hoặc thép không gỉ mạ vàng
- Chiều cao đầu vít: 4mm
- Kích thước khóa (size khóa): 10mm
Cấu tạo của Vít gỗ (vít phong) 60mm như thế nào?
Ưu Điểm Vượt Trội Khi Sử Dụng Vít Gỗ 60mm
Việc lựa chọn vít gỗ 60mm mang lại nhiều lợi ích thiết thực, đặc biệt là trong các ứng dụng yêu cầu độ bền và khả năng chống chịu cao.
Đảm Bảo An Toàn Và Độ Bền Cấu Trúc
Ưu điểm nổi bật nhất của vít gỗ 60mm là khả năng giữ cố định chắc chắn các bộ phận, đặc biệt là mái tôn. Trong điều kiện thời tiết khắc nghiệt như mưa to, gió mạnh hay bão lốc, mái tôn được bắn vít gỗ sẽ hạn chế tối đa tình trạng bị tốc hoặc bay ra ngoài, đảm bảo an toàn cho toàn bộ công trình. Chiều dài 60mm cùng chất liệu thép không gỉ cao cấp cung cấp độ bền vượt trội, giúp mái nhà và các kết cấu liên quan duy trì sự vững chắc trong nhiều năm mà không cần bảo dưỡng thường xuyên.
Cấu trúc đầu lục giác và vòng đệm đi kèm của vít gỗ 60mm còn góp phần làm kín các vị trí bắn vít. Điều này ngăn chặn hiệu quả sự xâm nhập của nước mưa hoặc không khí, bảo vệ công trình khỏi các tác động gây hại từ môi trường, từ đó kéo dài tuổi thọ.
Nguyên Liệu Cao Cấp, Tiết Kiệm Chi Phí
Vít gỗ 60mm được chế tạo từ thép không gỉ chất lượng cao, giúp chống lại tình trạng gãy, cong vênh hoặc bị cháy đen trong quá trình thi công. Chất liệu này còn đảm bảo vít không bị oxy hóa, giữ cho mối nối luôn bền đẹp theo thời gian. Việc sử dụng vít gỗ giúp giảm thiểu sự phụ thuộc vào các loại vật liệu kết nối khác, tối ưu hóa quy trình thi công trở nên nhanh chóng và hiệu quả hơn. Nhờ đó, chi phí nhân công và chi phí đầu tư tổng thể cho vật tư cũng được giảm thiểu đáng kể.
Thẩm Mỹ Cao, Dễ Dàng Thi Công Và Thay Thế
Với thiết kế hiện đại và vật liệu cao cấp, vít gỗ 60mm không chỉ đảm bảo tính năng kỹ thuật mà còn mang lại vẻ đẹp thẩm mỹ cho công trình. Thiết kế này phù hợp với nhiều loại vật liệu và công trình, tạo sự hài hòa và đồng nhất. Quá trình lắp đặt hoặc sửa chữa khi sử dụng vít gỗ cũng trở nên đơn giản và nhanh chóng hơn rất nhiều so với các phương pháp truyền thống.
Vì sao nên sử dụng vít phong (vít gỗ) 60mm
Ứng Dụng Rộng Rãi Của Vít Gỗ 60mm
Với những ưu điểm vượt trội, vít gỗ 60mm (vít phong) được ứng dụng linh hoạt trong nhiều lĩnh vực khác nhau, từ xây dựng dân dụng đến các dự án sáng tạo cá nhân.
Ứng dụng của vít gỗ 60mm là gì?
- Cố định mái công trình: Đây là ứng dụng phổ biến nhất, giúp neo giữ chắc chắn các loại mái tôn, mái ngói, mái panel cách nhiệt, đảm bảo an toàn trước các yếu tố thời tiết.
- Ngành mộc và nội thất: Vít gỗ 60mm được sử dụng rộng rãi trong việc lắp ráp đồ nội thất bằng gỗ, kệ sách, tủ, bàn ghế, vách ngăn, khung tranh và nhiều sản phẩm gỗ khác, mang lại sự chắc chắn và thẩm mỹ cao.
- Công nghiệp đóng tàu: Trong ngành đóng tàu, loại vít này được dùng để cố định các bộ phận trên thân tàu, đảm bảo độ bền và khả năng chống chịu với môi trường biển.
- Công trình ngoại thất: Vít gỗ 60mm là lựa chọn lý tưởng cho việc lắp đặt các hạng mục ngoại thất như ban công gỗ, hàng rào, cổng, sàn gỗ ngoài trời, mang lại sự vững chắc và vẻ đẹp tự nhiên.
- Dự án DIY và Thủ công: Đối với những người yêu thích tự làm (DIY) hoặc các dự án thủ công, vít gỗ 60mm là công cụ hỗ trợ đắc lực để tạo ra các sản phẩm độc đáo như đồ chơi gỗ, khung ảnh, vật dụng trang trí.
- Lắp đặt hệ thống: Vít gỗ 60mm cũng có thể được sử dụng để cố định các hệ thống như đường ống, dây cáp, hoặc các thiết bị như máy điều hòa không khí. Khi cố định vật nặng lên tường, vít gỗ thường kết hợp với nở nhựa để gia tăng khả năng chịu lực.
Đại Việt Cường: Đơn Vị Cung Cấp Vít Gỗ 60mm Chất Lượng
Công ty Đại Việt Cường tự hào là đơn vị hàng đầu trong lĩnh vực sản xuất và phân phối các sản phẩm ốc vít ngũ kim. Thành lập từ năm 2013, chúng tôi chuyên cung cấp các loại vít bắn tôn, vít bắn tôn gỗ, vít gỗ răng thưa, vít nhúng nóng và đặc biệt là vít gỗ 60mm chất lượng cao.
Đơn vị cung cấp vít gỗ 60mm chất lượng Đại Việt Cường
Với kinh nghiệm gần 20 năm phục vụ ngành vít bắn tôn, đội ngũ chuyên gia của Đại Việt Cường mang đến những sản phẩm được sản xuất trên dây chuyền công nghệ hiện đại theo tiêu chuẩn Đài Loan. Chúng tôi cam kết mang đến cho khách hàng những giải pháp kết nối tối ưu, chất lượng cao nhất, góp phần nâng cao giá trị và độ bền cho mọi công trình. Sự hợp tác chặt chẽ với các đối tác trong và ngoài nước khẳng định năng lực và cam kết của Đại Việt Cường trong việc phục vụ các yêu cầu khắt khe nhất về chất lượng trên toàn quốc.
Ngày Cập Nhật 06/01/2026 by Minh Anh
